我国水泵泵机械行业标准JB/T7369-1994《机械密封端面平面度检验方法》规定了机械密封端面平面度的检验装置、检验程序、平面度测定值的判读等内容,它适用于采用单色光源的光学法检验机械密封环端面平面度。
1、检验装置
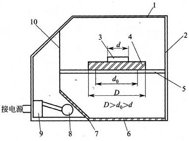
推荐使用的检验装置结构如图1所示。光源应为单色光源,检验用光学平晶应为一级精度(其平面度应在0.02~0.10μm之间),光学平晶的直径应大于被检密封环端面的外径。装置放置在干燥、洁净、避免振动干扰的工作间内。装置要有一定的保护元件,避免光束直接照射到观察者的皮肤或眼睛。如果采用反光镜观察,应保证反光镜没有变形和失真。

图1
广一水泵械密封端面平面度检验装置
1-箱体;2-活动门;3-密封环;4-光学平晶;5-带孔活动板;6-玻璃镜;7-毛玻璃;8-钠光灯管;9-稳压元件;l0-隔光板
2、检验程序
检验时,环境温度应控制在(20±5)℃。打开平面度检测仪的电源开关,预热至灯管充分发光。清除被检密封环端面和光学平晶表面上的纤维、颗粒、油渍、水汽等污物,且使密封环端面和光学平晶表面不受损伤。将被检密封环轻轻放置在光学平晶上(或将平晶轻轻放置在密封环上),使密封环端面和光学平晶紧密接触,判读光谱带数时不应使其受到附加外力的作用。通过镜面观察密封端面的干涉图形(或透过光学平晶观察密封端面上的干涉图形),判读干涉光谱带。
3、平面度测定值的判读
平面度测定值的判读按图2至图6的规定。对于未包含的图形,判读者应在正确理解光干涉原理的基础上,参照图例进行判读。
确定球形凸面和球形凹面时应由上向下移动眼睛观察干涉图,若干涉光谱带向圆心移动,则为球形凹面;若干涉光谱带向外径移动,则为球形凸面。
将平晶放在密封环上,用手指轻轻地在平晶外边上加压,若干涉光谱带围着手指弯曲,则为球形凸面;若干涉光谱带向手指外弯曲,则为球形凹面。
平面度测定值的计算公式为
△=0.4 Nλ (5-33)
式中 △-平面度的测定值,μm;
N-干涉光谱带数;
λ-单色光波波长,μm。